### 예비성형과 단조 금형 설계: 효율적인 단조 공정의 핵심
복잡한 단조 제품을 만들 때, 단조 결함을 피하고 최적의 단조성을 유지하기 위해 여러 단계로 나누어 소재를 성형하는 예비성형(preforming) 과정을 거칩니다. 이번 글에서는 예비성형과 단조 금형 설계의 중요성과 방법에 대해 알아보겠습니다.
#### 예비성형이란?
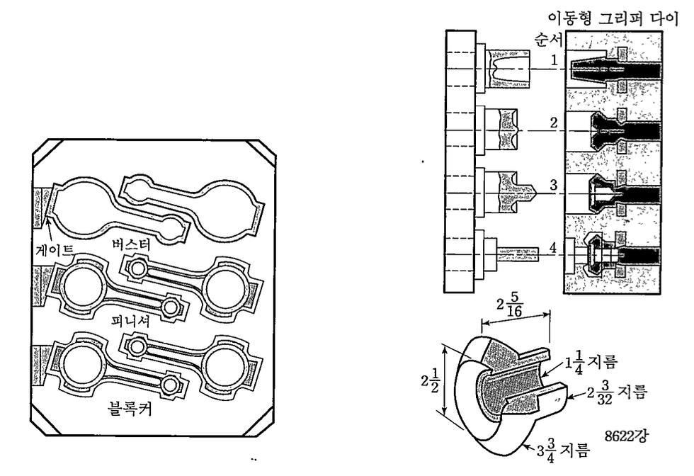
복잡한 형상을 갖는 단조품을 만들 때, 재료를 몇 단계로 나누어 성형하는 것이 중요합니다. 예비성형은 다음 단계의 성형을 준비하는 과정으로, 이를 통해 만들어진 중간 소재를 예비성형체(preform)라고 합니다. 예를 들어, 커넥팅 로드의 단조 과정은 다음과 같습니다:
1. 소재가 환봉 형태로 시작
2. 1차 예비성형으로 중간 형상 만들기
3. 두 단계의 단조 작업을 거쳐 최종 형상으로 완성
4. 마지막으로 트리밍 작업
이 과정을 통해 재료를 적절히 분산시키는 것이 중요합니다. 또 다른 예로, 크랭크축의 단조도 여러 중간 단계를 거쳐 최종 형상으로 만들어집니다.
#### 단조 금형의 구조
단조 금형 설계의 핵심 원칙은 저항이 최소인 방향으로 소재를 유동시키는 것입니다. 이를 통해 예비성형체의 재료가 금형 공동부를 적절히 충전할 수 있게 됩니다. 중간 단계의 단조 작업에 사용되는 금형을 블록커(blocker) 금형이라고 합니다. 금형 공동부를 채우는 데 필요한 소재의 체적은 정확하게 계산해야 하며, 최근에는 컴퓨터 기술을 활용하여 이를 더욱 정밀하게 계산합니다.
금형 설계의 주요 요소는 다음과 같습니다:
1. **분리선(parting line):** 두 개의 금형이 만나는 선으로, 제품의 형상, 금속 유동, 하중의 평형, 플래시 등을 고려하여 설계합니다.
2. **플래시:** 잉여 소재를 처리하고 금형 공동부 내 소재에 압력을 가하여 충전을 유도하며, 금형 간의 직접 접촉으로 인한 충격을 방지합니다. 플래시 두께는 단조품의 최대 두께의 3% 정도로 하며, 랜드부의 길이는 플래시 두께의 5배 정도로 합니다.
3. **드래프트 각(draft angle):** 제품을 금형에서 쉽게 뽑아내기 위해 필요하며, 안쪽 드래프트 각은 약 7~10도, 바깥쪽 각은 약 3~5도로 설정합니다.
4. **코너와 필릿 반지름:** 금속 유동을 부드럽게 하고 금형 수명을 연장하기 위해 설정하며, 너무 작으면 금속 유동에 좋지 않고 금형에 응력 집중과 반복 열하중을 발생시킵니다.
#### 예비성형체의 설계 방법
예비성형체 설계는 전체 단조 공정의 성공을 좌우합니다. 예비성형의 목적은 다음과 같습니다:
1. 결함이 없는 재료 유동과 적절한 금형 충전을 유도
2. 플래시로 인한 재료 손실 최소화
3. 최종 단조에서의 재료 유동 최소화로 금형 마모 감소
4. 원하는 단류선 획득으로 제품 품질 향상
체적분배법(method of volume distribution)을 사용하여 예비성형체를 설계할 수 있습니다. 이 방법의 절차는 다음과 같습니다:
1. 최종 단조 도면에 플래시를 추가하여 그립니다.
2. 제품의 중앙선에 평행하게 기준선을 그립니다.
3. 제품의 중앙선과 수직한 최대 단면과 최소 단면을 설정합니다.
4. 이 단면적을 기준선에 비례적으로 표시합니다.
5. 점들을 부드럽게 연결하여 단면적 곡선을 작성합니다.
6. 각 단면에서의 플래시 단면적을 추가로 그립니다.
7. 작성된 단면적 곡선으로부터 동일한 단면을 갖는 입체를 작성합니다.
#### 단조 온도와 윤활제
열간 단조에서 단조 온도의 범위는 표준에 따라 설정됩니다. 윤활제는 마찰과 마모에 중요한 영향을 미치며, 금형 공동부 내 소재의 유동에 영향을 줍니다. 윤활제는 다음과 같은 역할을 합니다:
1. 가열된 소재와 금형 사이의 열적 차폐물로 작용하여 소재의 냉각 속도를 늦춤
2. 금속 유동 속도 개선
3. 이형제로 사용되어 단조품이 금형에 붙는 것을 방지하고 금형에서 쉽게 탈착되도록 도움
### 결론
단조 작업에서 예비성형과 금형 설계는 제품의 품질과 작업 효율성을 크게 좌우합니다. 적절한 설계와 관리를 통해 단조 결함을 줄이고, 최종 제품의 품질을 높일 수 있습니다. 단조 온도와 윤활제의 선택 또한 중요하며, 이를 통해 단조 작업의 효율성을 극대화할 수 있습니다. 이러한 원칙을 바탕으로 단조 공정을 최적화하여 고품질의 제품을 생산할 수 있습니다.
'전공 기본 > 기계공작법' 카테고리의 다른 글
금속성형공정 - 단조 - 5. 단조결함 (0) | 2024.05.24 |
---|---|
금속성형공정 - 단조 - 4. 기타 단조작업 (0) | 2023.09.12 |
금속성형공정 - 단조 - 3. 형단조 (0) | 2023.09.12 |
금속성형공정 - 단조 - 2. 단조하중과 일 (0) | 2023.06.05 |
금속성형공정 - 단조 - 1. 자유단조 (0) | 2023.06.04 |
댓글